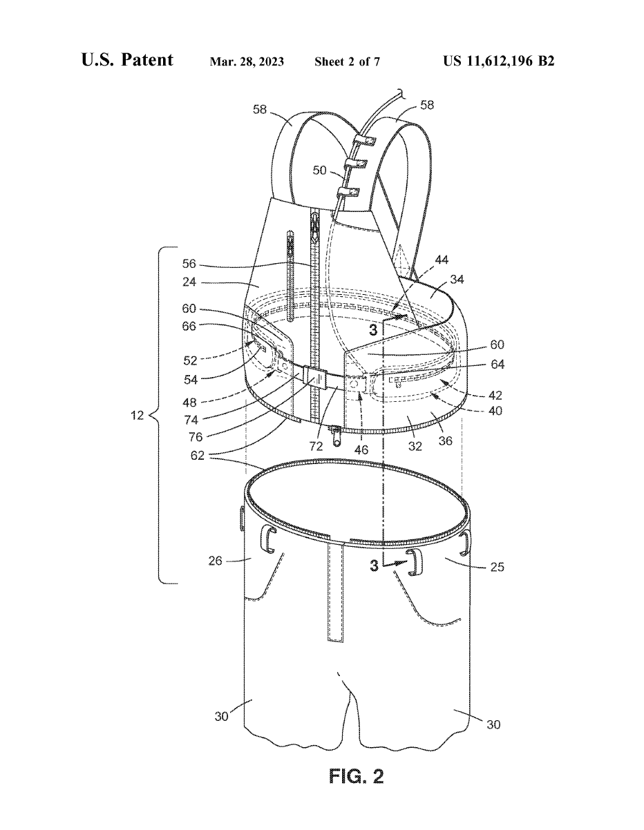
After working on the design and development of the 686 Hydrastash Jacket, the 686 GLCR Quantum Hydrastash Bib is the first of the expanded Hydrastash collection to be released. I was the lead designer and developer for this project. The goal was to adapt the hydration system from the hydrastash jacket to a bib while retaining the low-profile, next to body fit from the jacket. The bladder suspension was adapted to prevent the bladder limiting range of motion and the pocket was articulated to maximize stability and limit the bladder creating a "muffin-top effect".








